
房屋內產生的大量水分來源有哪些呢?
如果在房屋內產生大量的水分,則還必須有除去水分的手段。 通常情況下,通過改變空氣的方式除去水蒸氣,無論是通過建筑圍護結構的自然空氣泄漏還是機械通風系統。 它也可以通過使用除濕設備來去除,但是住宅除濕機在冬天具有有限的除濕能力。 目前許多高濕度和房屋冷凝的問題可以通過控制水分源而非通過使用除濕器或增加空氣變化率而得到有效解決。
為了將濕度輸入視為一個角度,首先要考慮一個典型的兩層住宅,在這種情況下,在安大略省奧爾良的Mark XI能源研究項目房屋的空氣中含有多少水.1這棟房子的總面積內部空間容積為460立方米。 如果房屋內的空氣維持在30%的相對濕度,那么總的含水量將是2.6千克或約2.6升。 如果空氣完全飽和,即100%RH,那么它將包含8.7升。 雖然這可能表明室內濕度水平是水分進入量的指標,但不幸的是不是。 房屋內的情況很少是靜止的,即室內空間幾乎總是有一些濕氣,有些濕氣因通風或漏風而損失。
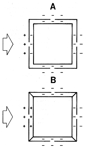
此外,無論濕度的輸入率高還是低,都可以保持恒定的濕度水平。 圖1顯示了兩個盛水的容器。 想象一下,集裝箱代表了兩個同等容量房屋的室內空間。 它們被填充的程度與每個房屋的空氣中存在的濕度的百分比相同。

圖1
第一個容器(A)填充到其容量的30%。 這種情況與上面所描述的情況相似,即房屋相對于其容量和相對濕度具有固定的水蒸汽量。 集裝箱B也裝滿了其容量的30%,并且假設進入集裝箱頂部的水量等于排出底部的水量,則水量保持恒定,而不管水分輸入和損失。 這就是濕度平衡的意思,也就是說,如果一個房子的濕度水平是恒定的,那么進入房屋的水分必須等于出來的水分。
假設我們想確定將濕度保持在30%所需的通風率。 在房子里整個冬天。 水量與總體通風量之間的關系可以用簡單的圖表來表示(圖2)。 該圖顯示了每天以升為單位的水攝入量與以升/秒為單位的泄漏或空氣變化率,以及由此產生的室內濕度數據與外部條件之間的關系。 應該知道外部條件,因為空氣也在家里提供蒸汽。

圖2室內濕度平衡(室外空氣 - 18°C / 100%RH)
如果我們假設房屋輸入的水分總量為每天7.4升,則需要在-18°C下每秒需要16升的室外空氣來維持30%的相對濕度。 另一方面,如果每天的總水分輸入量是18升水,則需要每秒39升的空氣變化率來保持相同的30%相對濕度下的室內濕度水平。
因此,房屋的室內濕度水平一方面是濕度的來源,另一方面是通風量,以及每個房間的濕度。 簡而言之,這意味著除非您知道任何房屋的水分輸入總量,否則您無法確定需要的通風量。
由于通風在后面的文章中有描述,本文將考察控制房屋濕度水平時必須考慮的各種水分來源。
有許多水分來源可以在房子里產生水汽。 其中包括加濕器,人員及其活動,建筑材料,地下室和爬網空間,季節性儲存效果和雨水滲透。 其中每一個都獨立于其他部分,也就是說,來自一個來源的水分(例如居住者)與來自地下室的濕氣沒有聯系,反之亦然。 但所有這些來源對房屋的水分平衡有直接的影響。
加濕器
家用加濕器的種類很多。這些加濕器可以分為中央空調加濕器和無風管加濕器。 那些用于中央空氣系統的設備包括鍋型,最常見的油氣系統和電爐系統,濕墊型(有時稱為動力加濕器),以及不經常使用的霧化型。
獨立式或便攜式加濕器可采用任何先前所述的蒸發方式,然而,濕墊和鼓風機相當普遍。 加濕器的水分輸出率隨型號,制造商,地點,以及室內溫度和濕度以及房間內的空氣流動而變化。 但是,無論房屋的類型和大小如何,當房屋內濕度很高時,都必須搜尋加濕器并關閉。
一般認為,家庭住戶及其活動一般是高濕度的原因,因此是許多凝結問題的原因。 毫無疑問,在某些情況下,這可能是事實。 然而,最近加拿大抵押貸款和住房公司進行的一項重大研究的結果表明,這是一個例外,而不是規則。 3
在幾年前完成的另一個項目中,研究了家庭占有情況,以確定人們的水分產出和幾種家庭活動的水分投入率.4考慮了一個四口之家的活動; 發現雖然居民的活動可能會有所不同,但呼吸和排汗等代謝過程產生的水蒸氣量平均為每小時0.2升或每天5升。 這是每人每天1.25升。
還進行了一系列的活動,包括洗澡,淋浴,做飯,洗衣和烘干,地板清洗(圖3)。 這些活動中的每一個都有助于保濕,然而,平均增加的水分輸入是每天2.4升,而居住者所貢獻的5升。

圖3
還有其他四個與今天的生活方式有關的水分來源,值得注意。 這些是使用不通氣的燃氣器具,室內花園,浴室,桑拿浴室和熱水浴缸,以及使用柴火。
燃氣用具
在前面提到的研究中,也有報道說不通氣的器具釋放了水分。 例如,氣體冰箱被發現每天釋放1.3升水分。 煤油加熱器也放棄了大量的水蒸氣。 但是,它的貢獻更好地與燃料消耗有關。 煤油加熱器釋放的水量稍多于每公斤消耗的燃料一升。天然氣和丙烷的價格可以相似。
房子植物
還研究了植物的澆水和隨后排放的水分,發現植物一般每周平均大小植物釋放約0.5升的水。 如果這個家庭擁有一個擁有25-30個植物的溫室,那么每天可以釋放大約兩升的水。
浴室,桑拿浴室和熱水浴缸
新近和現有的家庭最近的社會趨勢是增加娛樂設施,例如按摩浴缸,桑拿浴室和熱水浴缸。 所有這些設備產生和釋放房屋內的水分。 特別是在不使用熱水浴缸的時候,一定要把熱水浴缸蓋上。
木柴
隨著節能時代的到來,木爐的復興已經來臨。 一根軟木帶進地下室干燥將釋放大約130升的水,木柴含水量變化10%。 硬木木材中的同一根繩子的重量大約是其重量的兩倍,每根繩子的釋放量將超過250升。 考慮到一個典型的房子可能使用大約三根繩子或者九根表面繩子,在冬天的過程中總的水分釋放可能接近800升。 如果采暖季節持續六個月,則可以假定柴草每天以大約五升的速度釋放水分。
當我們檢查一個四口之家的水分輸入及其活動時,有趣的是,很少有來源和居住者一樣多。 如果所有這些產生水分的活動都是在同一天發生的,包括在室內干燥的衣服,地板清洗,烹飪和柴火烘干,則每天的綜合負荷將達到18-20升。

圖4室內濕度平衡(室外空氣 - 18°C / 100%RH)
當我們考慮一個占用率超過正常水分輸入率,并將其等同于平均通風量(圖4)時,我們在房屋的平均空氣交換率和平均占用濕度輸入之間留下了顯著差距。 這些并不等于高濕度條件。
這意味著兩件事之一。 問題房屋的假設自然通風率比平均水平要低得多,也就是說,它是一個密閉的建筑物,或者居民只貢獻了一部分水分投入,還有其他的來源需要考慮。 最近的實地調查已經開始顯示,這很可能是兩者的衡量標準。 但是,由于氣密性和換氣率低,在下面的文章中會有很好的討論,所以我們將重點討論影響房屋室內條件的許多“隱藏”水分來源。
典型的房子是由通常相當濕的木材建造的,混凝土在制造過程中需要大量的水,還有許多其他產品,包括護套,絕緣層,空氣和水蒸氣阻擋層以及覆層材料。 施工完成后,混凝土和木材可能會產生大量的水分。
構筑木材
使用同一座兩層的Mark XI房屋,計算出一層和二層的隔墻和全部地板托梁的總重量約為2100公斤。 如果在建筑中使用的木材含水量為19%(這并不罕見),如果最終干燥到9%的水分含量,則會釋放200升以上的水分。 這種水分被排放到房子的內部,并與其他水分源混合。
混凝土基礎
大多數新房都建在混凝土基礎上。 假設樣房的地基高約2.5米,厚0.25米,周邊墻35米,則基礎將包含22立方米的混凝土。 地下室的地板大約有四立方米的混凝土,總共有26立方米。 在混凝土的一般混合物中,一個立方米在混合過程中需要210升或更多的水,但是通過水合作用,最終保留略少于120升的水。 因此這種混凝土在固化過程中釋放2340升水。 這種水將在頭兩年內釋放,可能大部分在第一年內釋放。
當木材和混凝土干燥時,根據建筑物的大小,框架木材的水分含量以及混凝土表面的面積,室內空間可以供應2000至3000升的水。 假設18個月的干燥期,這相當于每天4到5升的水分,這與占用產生的水分相比有顯著的貢獻。 因此,在施工后的頭兩年出現很多高濕度和凝露問題的投訴,這并不奇怪。
水分的季節性儲存
還有另外一個現象可以增加冷凝季節的濕氣輸入速度。 這是房屋內的家具和各種建筑材料周期性的儲存和釋放濕氣。 由于大部分房屋在夏季通風,外面溫暖潮濕的空氣將對房屋內的所有材料施加高水蒸汽壓力。 當室外濕度接近100%時,包括一些下雨天,室外濕度水平在夏季可能在幾個月內在60-90%的范圍內懸停。 因此,在通風的情況下,房屋的室內條件很可能也會處于相當高的濕度,但是由于炎熱的夏季溫度,在建筑物外的任何地方,除了冷表面之外,一個地下室。 然而,相當大的濕度可能被存儲在建筑物結構內。
冬天來臨時,室內濕度要低得多。 這是因為空氣泄漏和通風帶走了大部分的室內濕度,使濕度水平通常在30-40%的范圍內; 這會使大部分隱藏的水分重新出現在室內空氣中。
框架木材,膠合板,家具

圖5木材和混凝土的平衡水分含量
如果夏季室外濕度在75%左右,那么纖維素和木質家具的含水量將增加到11%(圖5)。 與此相比,如果室內濕度在冬季降低到30%,那么材料和家具將傾向于放棄儲存的水分,并嘗試達到新的平衡水分含量(約6%)。 這是一個5%的重量變化,并將釋放在十六個冬季期間的105升水汽。 假設四個月的衰減期,直到春季和夏季的條件再次到達,這種儲存的水將以每天約0.9升水的速率釋放。
混凝土的行為有點像木頭,只是在濕度水平的變化中,水分含量的百分比變化略小。 但是,更重要的是,因為在典型的小房子里,混凝土的總重量遠遠超過木材的總重量。
從我們以前的例子來看,這個兩層樓的房子確定了大約26立方米的混凝土。 雖然圖5顯示從夏季到冬季的潛在變化約為3%,但即使是1%的變化也會對房屋的水分平衡產生重大影響。 二十六立方米的混凝土在夏季可能會吸收多達600升的水(重量變化1%),冬天會以每天約五升的速度再次釋放。 再次,與占用產生的投入相比,這不是一個微不足道的數額。
結合木材,石膏,家具和房屋混凝土釋放的水分,這些水源每天僅從季節性儲存中釋放三至八升水。 當然,這個比率取決于許多因素,但最重要的是夏季在特定地理位置的溫度和濕度水平以及房屋內木材或纖維素產品和混凝土的暴露。
季節性的水分儲存和水分的季節性釋放并不完全一致。 事實上,當室外溫度和室內濕度快速下降時,儲存的大部分水分在初秋時相當快地釋放出來。 這是在這個時候冷凝投訴的通常原因。
房子地下室應該比較濕地上的溫暖的海綿。 許多更嚴重的水分進入問題出現在地下室。 水分通過擴散進入地下室,通過水的毛細作用,通過塊墻的空氣泄漏以及通過混凝土墻和地板的裂縫和接縫以及通過淹水和排水問題進入地下室。
混凝土墻即使經過長時間的干燥,也會通過擴散過程將水分排放到內部,從而使水汽通過混凝土從一側的濕潤狀態遷移到另一側的干燥狀態。 一個正在進行的DBR研究項目已經調查了一些房子的地下室,看起來每天二到三升的水分可能會通過平均尺寸的房屋的地下室墻壁和地板向內擴散。 這將取決于一年中的時間以及混凝土表面周圍的潮濕程度以及地下室地下的水位高度。
如果混凝土樓板部分擱置在水面上,則水可能通過毛細作用向上移動到地面的近表面。 這可以在地板表面三到五毫米之內。 從這一點來說,水將在其他方面幾乎沒有阻力的情況下蒸發和擴散。
在最近的一個全新平房高濕度問題的調查中,發現地下室上方的膠合板底層地板在施工后不到一年就接近飽和。 膠合板地板已成為一個大的蒸發表面,在房子里造成高濕度條件。 在1983年2月至3月期間,濕度水平被記錄在50%至60%,并且在窗戶上產生大量凝結。 最終發現周邊排水溝瓷磚系統在污水坑坑處被堵塞。 清理堵塞后,水從地板下面以約6加侖/分鐘的速度沖入坑內近六個小時。 后續檢查(一年后)顯示,問題已經清理。
混凝土塊是特別好的水分導體,因為混凝土孔的尺寸較大,而且塊的空芯結構。 當一個混凝土砌塊墻壁在地下室幾英尺以上的地下室地板的周圍都是明顯濕的時候,如果室內濕度條件是這樣的話,那么每天從這個表面積蒸發的水分可能高達8到10升維持在40%以下。 如果墻壁附近的地板上有可見的水分,這個比例將大大增加。
爬行空間是另一個重要的水分來源。 如果爬網空間的地面暴露,則可能每天釋放多達40至50升的水分。 如果抓取空間中的空氣被允許進入房屋內部,可能會導致許多表面嚴重的水汽損壞,特別是進入閣樓和屋頂空間。 盡可能保持適當的防潮層(如塑料薄膜,卷材屋頂,最好是整平混凝土板)的爬網空間。
對于地下室被淹的不幸的租戶或居民,假設上面的空氣足夠快地排出,那么在環境溫度低于五到十攝氏度的情況下,六十平方米的暴露水將以每小時六升的速度蒸發保持濕度低于40%。 在典型的冬季,所需通風量約為每小時五次換氣。 然而,在這種情況下,房屋內的濕度越高,蒸發率就越低,通常會導致嚴重的結露問題和各種損壞。
不是那么明顯,但是有一點重要的是,從地下室周圍的墻壁接縫處,通過裂縫和排水管周圍漏入地下室。 這種空氣也可能含有大量的水分。 在冬季最冷的時候,水分輸入速率會最大。
這是在地下室氡氣排放研究過程中發現的。 在十帕斯卡的低壓差下,水汽在漏氣的同時與氡氣一起進入地下室。 在冬季,當堆疊效應發揮作用時,地下室的外部會受到輕微的負壓。 因此,外面的空氣可能會通過窗戶井眼或地下室的外部通過窗戶井或通過排水管滲漏進入周邊排水溝,變得濕潤,并進入地下室作為冷卻但飽和的空氣。 如果這個發現是普遍的,那么整個冬天,飽和的寒冷潮濕的空氣就會流入房子。
雨水滲透是一個古老的問題。 然而,它仍然像以前一樣神秘,我們不能確定壁腔中的水分問題完全是由于潮濕的空氣冷凝而造成的,而不是由于雨水滲入。
當房間內部出現雨水時,這通常是一個更大的問題的標志。 由于大多數墻體的內部空腔都是閃光的,所以大部分穿透墻面的雨水都應該排到室外。 但是呢? 經過長時間的降雨后,可能會在各種口袋中留下濕氣,并可能浸泡建筑物外殼的許多部分。

圖6
根據盛行風的方向和外部溫度,雨水浸濕的墻壁中的水分可能會使滲透空氣飽和; 這通常發生在基礎墻連接處附近(圖6),即使沒有風也可能發生。 煙囪效應雖然不強,但會使建筑物下部的空氣滲透,在此過程中,不飽和的冷空氣將會變得飽和,從而使建筑物中的水分含量很少但可能相當多。

圖7
在最近進行的一個實驗中,為了驗證使用水蒸汽作為示蹤氣體來測量空氣流量,使用一個風扇對小建筑物加壓(圖7a)。 風扇被調整到約60升/秒的速度。 用于保持室內濕度為40%的加濕器通過每小時注入1.2公斤水來適當維持濕度水平。 但是,當風機系統逆轉時,即處于減壓模式(圖7b)時,不需要加濕器來潤濕空氣。 然而,在六小時的測試期間,濕度水平保持在約40%。
唯一合理的結論是,雖然外面的空氣被吸進了房子,但相當于每小時1.2公斤的水分必須從建筑物(即濕墻),也許從地下室區域供應。
雨幕
雨量滲透控制是雨幕的目標。 然而,最近對雨幕性能的調查表明,很少有墻體設計和施工技術實際上產生了適當的雨幕。雨幕必須被認為是一個系統,而不僅僅是一個通風的包層。 覆層后面的空腔對于雨幕性能具有非常重要的作用。 對于雨屏進行壓力平衡,模腔壓力必須隨著建筑物表面的風壓而升高或降低。 為了獲得壓力平衡的包層,限定腔體的表面和材料必須是氣密且盡可能剛性的,以使腔體體積保持盡可能穩定。 建筑物周圍的空腔也必須適當分隔。

圖8
如果防雨幕墻系統在連接建筑物外圍的覆層后面有一個空腔(圖8a),那么即使內壁是氣密的,并且不管覆層中的通風孔的數量和尺寸如何,仍然會受到嚴重的濕潤和空腔中的大量積雨。 這是因為在房子的兩個或三個高處的風引起的負空氣壓力在空腔中引起負壓。 這導致迎風面的包層上的壓力差較大,并迫使雨水直接通過包層進入空腔。 如果內壁是氣密的,那么穿過包殼到達空腔的空氣和水將使空氣中的水分沉積,同時允許空氣從下風側的開口循環和排出。 然而,如果空氣發現通過內壁的通道,則水可能以滲透的空氣直接進入內部。 對于墻壁近乎完美的氣密性的要求怎么強調也不為過,但劃分也是防雨網原理的必要組成部分(圖8b)。
通過覆層的雨水滲透可能永遠不會完全停止,但是,如果更加注意細節的閃爍,更重要的是氣密性,雨水會穿透墻壁。
當考慮所有各種水分來源時,房屋內的水分輸入總量是居住者和他的活動所貢獻的總和,也來自一些不太明顯的來源,如建筑濕度,季節性儲存效果,地下室或爬空間和雨水浸泡的墻壁。
房屋內出現的高濕度環境和過冷凝水是由所有水源輸入的水分總量造成的,但這些居住者未貢獻的水源應首先予以糾正,然后再決定額外的通風是降低或控制室內濕度的唯一方法在冬天。

圖9
最后,在考慮新房子可能的濕度輸入率時,建議如下指導一個典型新房子的第一年,第二年和隨后幾年的可能水分負荷(圖9)。 在第一年,冬季,居民和其他來源的水分輸入總量可能會達到每天20升或更多。 隨著建筑材料的枯竭,第二年的總水分投入率可能會下降到每天15升,并在第三年和之后最終達到每天約10升的水平。
因此,水分輸入總量的三分之一到一半是由居住者和他的活動以外的其他來源產生的。 除特殊情況外,建議居民的生活方式不得不改變,但這是可行的,而且有必要解決許多其他的濕度來源,以控制新房子和改造房屋的濕度。
參考
1. RL Quirouette,Conception et construction du projetche sur l'économied'elenergie Mark XI,Division des recherches enbatiment,Conseil national de recherches Canada,Note d'information de recherche sur lebatimentno 131F,Ottawa,1980年1月。
2.加濕器,在ASHRAE手冊,1983年設備。 美國采暖,制冷和空調工程師協會,ISSN 0737-0687,亞特蘭大。 1983年。
3.在NHA住房,3部分水分引起的問題。 加拿大抵押和住房公司。 由Marshall Macklin Monaghan Limited,Cat。編寫的報告 No.NH20-1 / 2-1983-1E,ISBN 0-662-12662-9,渥太華,1983年6月。
4. SC Hite和JL Bray,家庭濕度控制研究。 1948年11月在美國普渡大學Urbana工程實驗站研究系列第106號。
RL Quirouette,水蒸氣作為測量房屋空氣變化的示蹤氣體。 加拿大國家研究委員會建筑研究部,DBR第1085號文件,NRCC 21002,渥太華,1983年。

<
<
<
<
<
<
<
<
<
<
<
<